

![]() |
◆[qq群]贵州公务员交流群: 461734862 |
|
| ◆[微信] 新文泰微信客服咨询号:xwtjy_01 | ||
| ◆[备考资料]公务员招考备考资料 |
◆[电话]咨询电话:0851 —86785360 |
过审人数小于三人的岗位
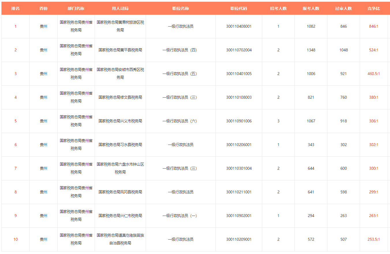
竞争最激烈十大岗位
报考人数最多十大岗位
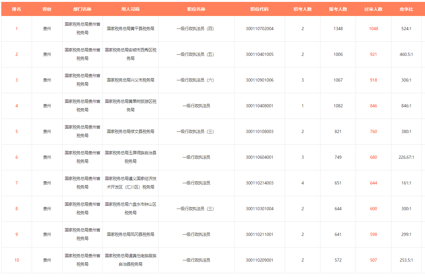
过审人数最多十大职位
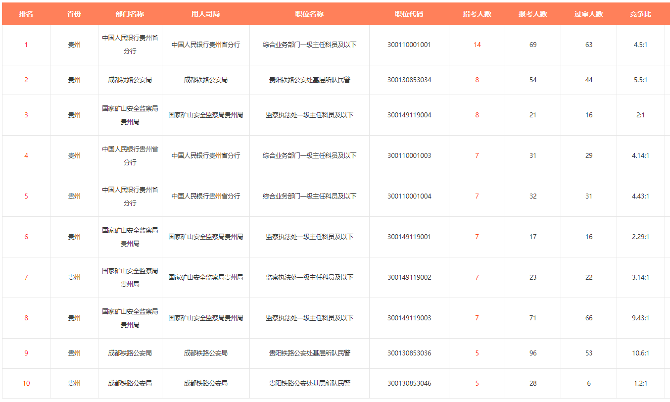
招考人数最多十大职位

全国联系方式0851-86785360、18984823606